Specially designed for steam and industrial fluids

专为蒸汽及工业流体设计

提供灵活的控制阀解决方案!

精准控制,尽在掌握 !

  • ZZV(C)系列自力式微(差)压调节阀
  • ZZV(C)系列自力式微(差)压调节阀

ZZV(C)系列自力式微(差)压调节阀

·结构紧凑,通道呈S型,压降损失小
·可调范围广,流量特性精度高
·动态稳定性好,噪音低,防空化气蚀
·阀芯导向面积大,抗震性好
·产品符合GB/T4213-2008 标准
·适用于控制各种高温、低温的流体


获取报价
咨询客服

产品详情

流体掌控间,万佳德展非凡

  • 产品特点
  • 选择阀体部件
  • 结构型式
  • 特殊规格
  • 产品特点

    ·无需外加能源,利用工艺管道中介质的压力变化与信号进行比较,使被调节介质的力与执行机构的输出力平衡,以  达到 稳定压力、差压值。

    ·ZZCP 型差压阀,采用平衡型单座阀,压力稳定、精度高、密封性好,用于控制微小差压。 ZZCN 型差压阀采用双座阀, 流量系数大,将阀芯正、倒装,可组成二个不同品种的产品。

    ·ZZVP 型微压阀,采用平衡单座阀,在运行中可任意对设定值进行调整等特点。因而适用于各种工业炉燃烧统燃料气体、 石油在制品或油库贮罐保护气体与热处理保护气体的微压自动调节等场合。差(微)压均可分段调节,从50mm.WC 至0.1MPa。

    ·广泛应用于工业燃烧炉系统,控制两种物料,如煤气、空气流量配比,以达理想燃烧。用于氢冷发电机组密封油系统, 控制密封油与气气间压力差,以确保可靠密封。当差压阀的低压端通大气即为微压阀(差压阀负压,端压力为零)。


  • 选择阀体部件


    阀芯型式单座(ZZVP、ZZCP)、双座(ZZVN、ZZCN)
    作用型式减压用阀后压力调节(B型)和泄压用阀前压力调节(K型)
    公称通径DN15mm~300mm(1/2”~12")
    流量特性快 开
    调节精度±5~10%
    使用温度≤160℃
    公称压力PN系列:0.1MPa、1.0MPa、1.6MPa Class系列:Class150
    连接方式法兰式、焊接式、螺纹①
    法兰距符合GB12221-2005①
    阀体及上阀盖材质WCB、WC9、CF8、CF8M ②(衬F46)各种材质的使用温度 ·压力范围见附录1
    执行机构型式膜片式、波纹管式
    表面涂层银灰色(环氧树脂);阀体为不锈钢时,本体不加涂层。


  • 结构型式

    下载 (19).png

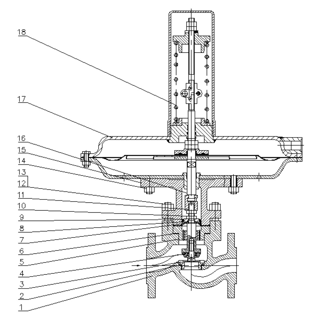
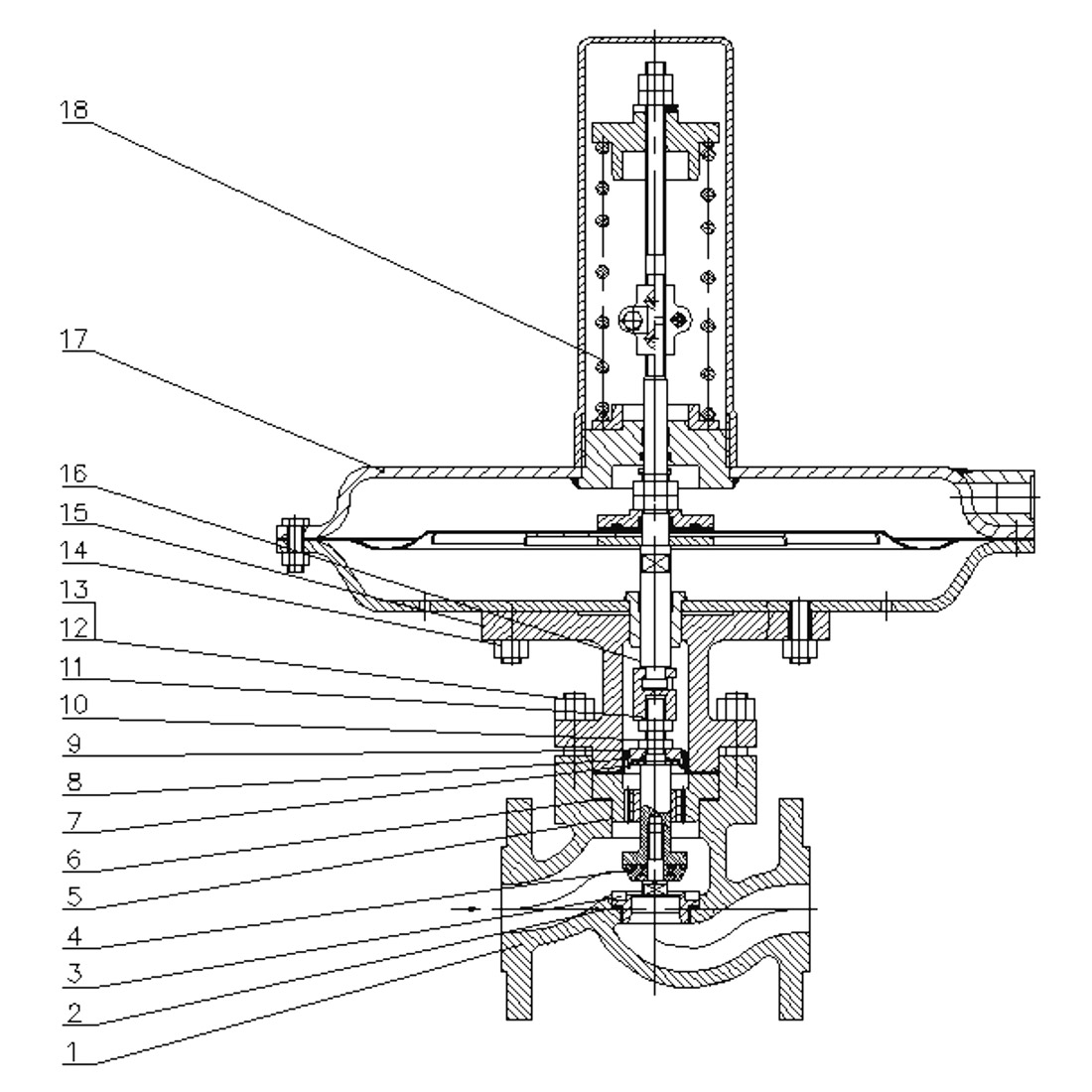
    结构特点

    1.压力设定点可在压力调节范围内现场调节;

    2.可根据现场要求的变化更换弹簧,实现压力调节范围在一定范围内快速更改。

    3.ZZVP 型自力式微压单座调节阀一般采用橡胶膜片作为压力平衡元件,阀前压力变化不影响阀芯的受力情况,大大 加快阀门的响应速度,从而提高阀门的调节精度,(见图B、D、F)。 当小流量时无需压力平衡元件。  (见图E)。

    4.阀杆密封处采用无填料设计,大大减小摩擦力,上密封绝对可靠。

    5.ZZVN 自力式微压双座调节阀采用了自平衡型双密封双座阀芯作为节流件,适用于阀门口径较大的场合。(见图C)

    6.执行机构采用橡胶膜片作为检测元件,阻力小,反应迅速,调节精度高,极微小的压力变化经膜片放大都会被感测出来。

    7.截止阀作为附件,阀门在工作前关闭,防止杂质进入执行机构,以保护执行机构内的膜片和密封件,及系统超压力 而产生阀门整体打坏现象。

    8.当阀前压力>0.1MPa, 或介质对橡胶有腐蚀性,或高温介质,压力平衡元件和执行机构检测元件可采用金属波纹管。


  • 特殊规格


    本体部分特殊检查流量特性检验、材料检查(试验报告)
    本体部分清洗清洁度要求、禁油、除水处理
    本体部分特殊规格防砂防尘型、防盐腐蚀型、寒冷地区用、热带地区用、禁铜、 接触大气部分的螺栓、螺母采用不锈钢、指定涂层色
    附件要求特殊接口、配取压管段、带压力表
    特殊介质如氧气



相关产品

品质阀门,守护流体安全每一刻