SAFE,Surpassing Quality!

安全,超越品质!

以国际 IEC60534 中的

V级泄漏等级为我们的出厂要求

  • YE200MX 电动先导笼式调节阀
  • YE200MX 电动先导笼式调节阀

YE200MX 电动先导笼式调节阀

·阀体流道呈S型,设有导流翼,使其压降损失小,流量大,可调范围广,流量特性精度高

·在普通笼式调节阀基础上新增了先导阀芯来实现小开度调节,使得阀门整体调节能力得到提高

·密封效果好,切断能力强,可作放空切断阀使用

·容量大、动态稳定性优良、适合荷刻工况条件

·配用电动执行机构,结构紧凑、体积小、输出力大

Request a Quote
Support

Product Details

Precision in Flow Control, Excellence from Zhongyuan

  • Product Features
  • ​Applicable Standards
  • Valve Body Component Selection
  • ​Structural Configuration
  • Main Performance Parameters
  • Product Features

    阀体流道呈S型,设有导流翼,使其压降损失小,流量大, 可调范围广,流量特性精度高

    在普通笼式调节阀基础上新增了先导阀芯来实现小开度调节, 使得阀门整体调节能力得到提高

    密封效果好,切断能力强,可作放空切断阀使用

    容量大、动态稳定性优良、适合荷刻工况条件

    配用电动执行机构,结构紧凑、体积小、输出力大


  • ​Applicable Standards


    中国标准
    Chinese Standard
    美国标准
    American Standard
    质量保证Quality assuranceISO9001 TS2710J59ISO9001
    设计制造design and manufactureGB12224-2005ASME B16.34
    法兰标准flange standardGB9113,GB9124.1 HG20592-2009ASME B16.5
    结构长度length of structureGB/T17213.3ASME B16.10 ISA S75.03
    检验和试验标准inspection and test standardGB/T4213-2008ANSI FCI70-2 IEC60534-2-1


  • Valve Body Component Selection

    公称通径DNmm40506580100125150
    inch1.522.53456
    公称通径DNmm200250300350400450500
    inch8101214161820
    公称压力 PNPN16、25、40、64、100、150、260、320、420
    ANSICL150、CL300、CL600、900、1500、2500
    连接形式 Connect-法兰式Flanged:RF、RJ、TG、MFM
    焊接式Welding:sW (40-50); SW(50-600)
    形式
    type
    直通铸造球型阀,压力平衡阀芯
    Through-type casting ball valve,Pressure Balanced Plug
    压盖形式 Gland螺栓压紧式bolt clamp
    ★上阀盖
    温度范围
    Bonnet
    temp-
    标准型-17~+230℃
    散热片型(G)-45~-17℃,+230~+566℃
    伸长型(D)-196~-45℃
    波纹管密封型(W)-45~+350℃
    填料
    Packing
    聚四氟乙烯V形填料聚四氟乙烯碳纤维柔性石墨Teflon V-ring, Teflon fiber,,Grafoil
    垫圈
    Gasket
    金属缠绕石墨垫、金属锯齿型(316)
    matel wound graphite Gasket、Grooved metal gasket
    表面涂层
    Painting
    color
    浅咖啡色(环氧树脂),阀体阀盖材质为不锈钢时,均不加涂层。Light curry(Epoxy resin group) is standard. In the case
    of stainless steel body, no
    painting is standard.


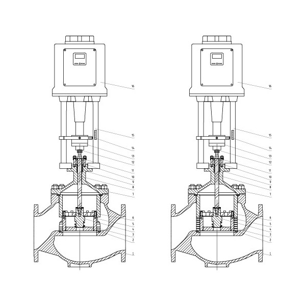
  • Structural Configuration

    下载 (5).png

    下载 (6).png

  • Main Performance Parameters

    CV值及额定行程
    CV value and rated stroke
    高容量阀芯;高精度流量特性阀芯
    High capacity plug ; High accuracy flow characteristic plug
     
    流量特性
    Flow characteristics
    金属阀座
    Metal seat ring
    高容量
    high capacity
    等百分比特性(%)和线性特性(L)
    Equal percentage character (%) and linear character (L)
    金属阀座
    Metal seat ring
    高精度
    high accuracy
    等百分比特性(%)和线性特性(L)
    Equal percentage character (%)and linear character (L)
    可调范围
    Adjustable range
    50:1
    泄漏等级
    Leakage level
    硬密封(hard sealing):标准(standard)Class IV,特需(special)Class V
    基本误差
    Fundamenta l error
    标准型:±1.5%;伸长型:±2.5%
    回差Backlash标准型:±1.5%;伸长型:±2.5%
    死区Dead zone标准型:±0.6%;伸长型:±1%
    始终点偏差
    Start point deviation
    ±2%
    额定行程偏差
    Rated travel deviation
    ±2%


Related Products

Zhongyuan Valves: Your Guardian of Fluid Safety