Specially designed for steam and industrial fluids

专为蒸汽及工业流体设计

提供灵活的控制阀解决方案!

精准控制,尽在掌握 !

  • YH220M 气动双层多孔笼式调节阀
  • YH220M 气动双层多孔笼式调节阀

YH220M 气动双层多孔笼式调节阀

·阀体结构紧凑,流体通道呈S型,设有导流翼,防止素流

·压降损失小、流量大、可调范围广、流量特性精度高

·阀塞设有三重密封,泄漏量更小,泄漏等级高

·双层多孔式套筒的采用,进一步地提高了内件的降噪音性能


获取报价
咨询客服

产品详情

流体掌控间,万佳德展非凡

  • 产品特点
  • 应用标准
  • 选择阀体部件
  • 结构型式
  • 主要性能指标
  • 产品特点

    阀体结构紧凑,流体通道呈S型,设有导流翼,防止素流

    压降损失小、流量大、可调范围广、流量特性精度高

    阀塞设有三重密封,泄漏量更小,泄漏等级高

    双层多孔式套筒的采用,进一步地提高了内件的降噪音性能

    The use of double-layer porous pressure cage further improves the noise reduction performance of the internals


  • 应用标准


    中国标准
    Chinese Standard
    美国标准
    American Standard
    质量保证
    Quality assurance
    ISO9001
    TS2710J59
    ISO9001
    设计制造design and manufactureGB12224-2005ASME B16.34
    法兰标准
    flange standard
    GB9113,GB9124.1
    HG20592-2009
    ASME B16.5
    结构长度
    length of structure
    GB/T17213.3ASME B16.10
    ISA S75.03
    检验和试验标准
    inspection and test standard
    GB/T4213-2008ANSI FCI70-2
    IEC60534-2-1


  • 选择阀体部件


    公称通径DN
    mm40506580100125150
    inch1.522.53456
     
    公称通径DN
    mm200250300350400450500
    inch8101214161820
    公称压力
    PN
    PN16、25、40、64、100、150、260、320、420
    ANSICL150、CL300、CL600、900、1500、2500
    连接形式
    Connect-
    法兰式Flanged:RF、RJ、TG、MFM
    焊接式Welding:SW (40-50); SW(50-600)
    形式
    type
    直通铸造球型阀,压力平衡阀芯
    Through-type casting ball valve,Pressure Balanced Plug
    压盖形式
    Gland
    螺栓压紧式bolt clamp
     
     
    *上阀盖
    温度范围
    Bonnet temp-
    标准型-17~+230℃
    散热片型(G)-45~-17℃,+230~+566℃
    伸长型(D)-196~-45℃
    波纹管密封型(W)-45~+350℃
    填料
    Packing
    聚四氟乙烯V形填料聚四氟乙烯碳纤维柔性石墨
    Teflon V-ring, Teflon fiber,, Grafoil
    垫圈
    Gasket
    金属缠绕石墨垫、金属锯齿型(316)
    matel wound graphite Gasket、Grooved metal gasket (316 stainless steel)
    表面涂层
    Painting color
    浅咖啡色(环氧树脂),阀体阀盖材质为不锈钢时,均不加涂层。
    Light curry (Epoxy resin group)is standard. In the case of stainless steel body, no painting is standard.


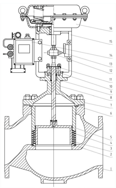
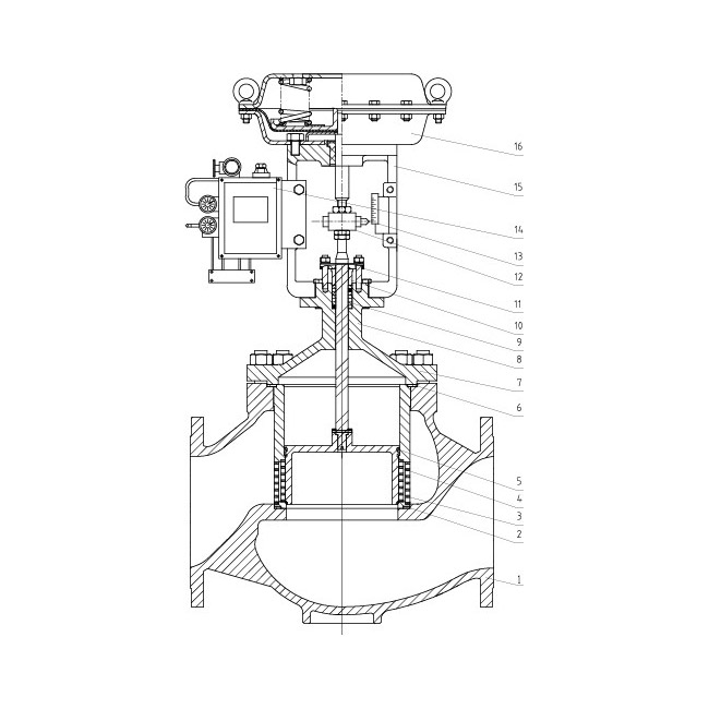
  • 结构型式

    下载 (6).png

  • 主要性能指标

    CV值及额定行程 
    CV value and  rated stroke

    高容量阀芯;高精度流量特性阀芯
    High capacity plug ; High accuracy flow characteristic plug
     
     
    流量特性
    Flow characteristics
    金属阀座
    Metal seat rinc
    高容量
    high capacity
    等百分比特性(%)和线性特性(L)
    Equal percentage character (%)and linear character (L)
    软阀座
    Soft seat ring
    金属阀座
    Metal seat ring
    高精度
    high
    accuracy
    等百分比特性(%)和线性特性(L)
    Equal percentage character (%) and linear character (L)
    软阀座
    Soft seat ring
    可调范围
    Adjustable range
    50:1
    泄漏等级
    Leakage level
    硬密封(hard sealing):标准(standard)Class IV,特需(special)Class V软密封(soft sealing):Class VI
    基本误差
    Fundamental  error
    标准型:±1.5%(带定位器);伸长型:±2.5%(带定位器)
    回 差
    Backlash
    标准型:±1.5%(带定位器);伸长型:±2.5%(带定位器)
    死 区
    Dead  zone
    标准型:±0.6%(带定位器);伸长型:±1%(带定位器)
    始终点偏差
    Start point deviation
    ±2%(带定位器)
    额定行程偏差
    Rated travel deviation
    ±2%(带定位器)


相关产品

品质阀门,守护流体安全每一刻